Установки циклонов батарейные типа 4БЦШ
Установки батарейные малогабаритных циклонов 4БЦШ предназначены для очистки запыленного воздуха, поступающего из аспирационных и пневматических сетей
Батарейные установки 4БЦШ изготавливают в климатическом исполнении «У», категории 1 ГОСТ 15150-69.
Принцип действия
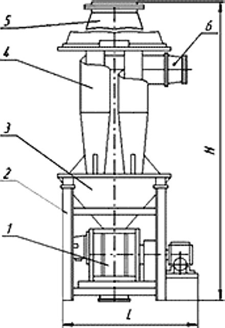
Состоят из агрегата шлюзовых затворов, сборного конуса, четырех циклонов, выходного и входного патрубков.
Запыленный воздух через входной патрубок поступает в циклоны и получает вращательное винтообразное, движение. Частицы пыли под действием центробежной силы прижимаются к стенкам циклонов, теряют скорость и скатываются вниз в сборный конус. С помощью агрегата шлюзовых затворов собранная пыль выводится в пылепровод, а очищенный воздух через выхлопные трубы циклонов и сборную коробку выводится из циклонов вверх или вбок в воздуховод очищенного воздуха.
Типоразмер и обозначение установки батарейной определяются диаметром входящих в нее циклонов.
Скорость входа воздуха равна 16-18 м/сек.

Отзывы
Отзывов пока нет.